
ソニー・インタラクティブエンタテインメントが、「PlayStation 5 Pro」に搭載されているAIアップスケーリング技術PSSRの改良に関する新たな特許を出願していたことが明らかになりました。将来的なバージョンでは、フレームレート低下を抑える仕組みが導入される可能性があります。
AI精度をリアルタイムで自動調整
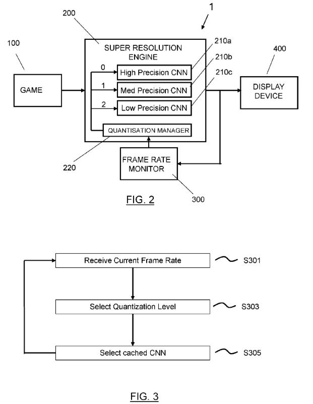
今回出願された特許は2月4日付のもので、PSSRの次世代版、いわばPSSR 2.0とも言える技術の一端を示しています。最大のポイントは、AI処理の精度をリアルタイムで動的に変更する仕組みです。

システムはGPUやCPUの負荷状況を常時監視し、ゲームの処理が重くなった際にはAIアップスケーリングの計算精度をわずかに下げることで負荷を軽減します。逆に、負荷が下がった場面では精度を引き上げ、画質を最大限に高めるという流れです。

これにより、従来のように内部解像度を下げてフレームレートを維持する必要がなくなる可能性があります。
激しいシーンでも安定動作を狙う
例えば、大規模な爆発演出や多数のNPCが同時に表示されるような高負荷シーンでは、通常フレームレートが落ちやすくなります。新技術ではAIモデルの重みや演算精度を調整し、描画負荷を抑えつつ滑らかな表示を維持することを目指します。
特許文書によれば、わずかな精度低下はユーザー体験に大きな影響を与えない範囲に留められ、スムーズなアニメーションや解像度維持を優先する設計だと説明されています。特にテンポの速いアクションゲームでは、フレームレートの安定性が重要となるため、大きな効果が期待されます。
将来ハードへの布石か
PSSRは家庭用ゲーム機としては初の本格的AIアップスケーラーとして注目されてきました。発売当初は改善の余地も指摘されましたが、その後アップデートを重ねて画質向上が図られています。
今回の特許技術が実装されれば、「PlayStation 5 Pro」は4K解像度と120fpsの両立にさらに近づく可能性があります。また、将来的な「PlayStation 6」や携帯型PlayStationへの展開も視野に入れていると考えられます。
近年のゲームはアップスケーリング前提で設計されるケースが増えています。AI精度を柔軟に制御できる仕組みが確立すれば、次世代機において大きな競争力となるかもしれません。正式な採用時期や実装内容の発表が待たれます。


