
ソニーが出願した新たな特許が、ゲーム体験の在り方を大きく変える可能性として注目を集めています。難関ボス戦や複雑なパズル中に、NPCがリアルタイムでプレイヤーを支援するという、まるでSFのような構想が明らかになりました。
プレイを支援する「AI生成ゴーストプレイヤー」
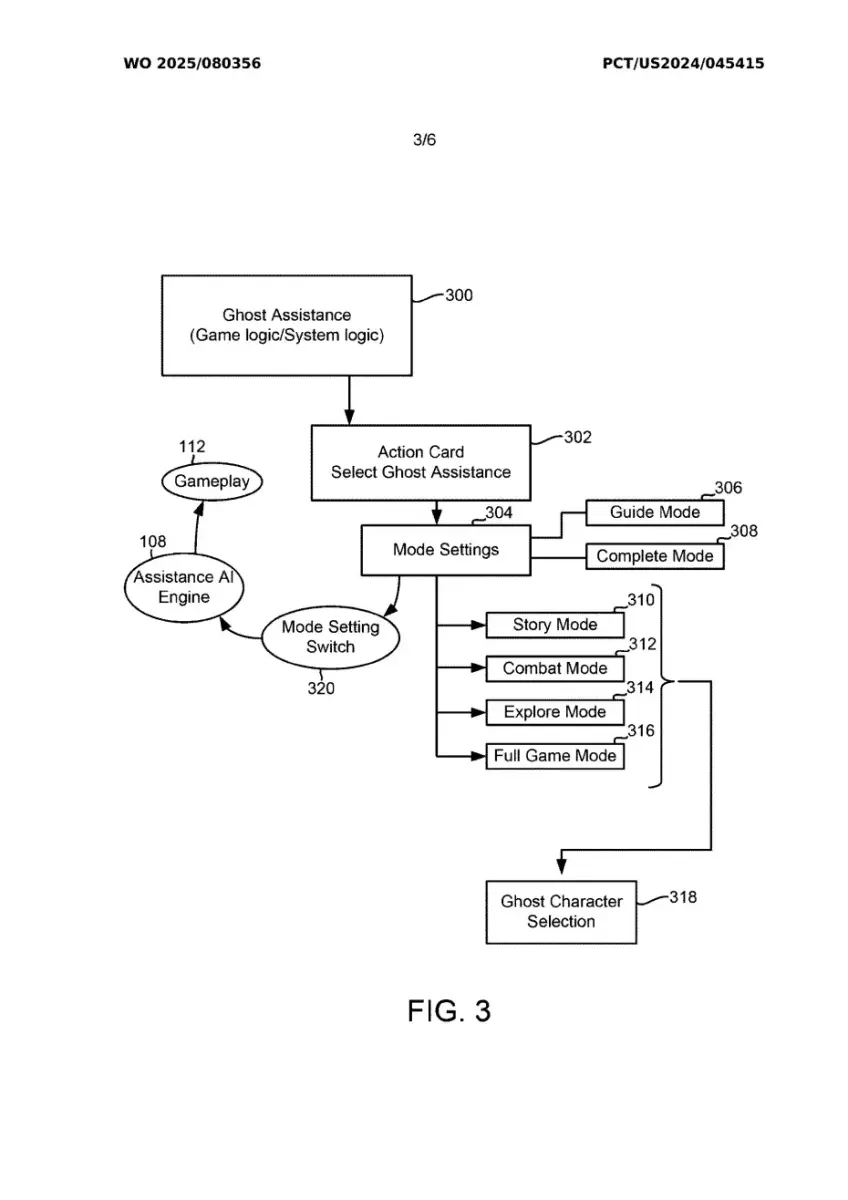
今回出願された特許では、「AIゴースト」と呼ばれるAI生成の仮想プレイヤーが登場します。これは単なるヒント表示とは異なり、過去の膨大なプレイデータを学習したAIが、実際のプレイ中に介入してサポートする仕組みです。

AIは、配信サイトやSNS、YouTubeなどに投稿された数千時間分のゲームプレイ映像をもとに訓練されており、行き詰まった場面で最適な行動を提示したり、状況によっては操作そのものを引き継ぐことも想定されています。
個人に最適化されたチュートリアル体験
このAIゴーストは、従来の一律なチュートリアルとは異なり、プレイヤーの行動や癖に応じたアドバイスを行うとされています。ボタン入力だけを表示する簡易的なガイドから、実演付きのサポートまで段階的に切り替えられる点も特徴です。
特許の内容によれば、AIはデータセンターから継続的に情報を取得し、視線追跡やソニー公認カメラの情報を活用することで、より状況に即した助言を行う可能性も示されています。
アクセシビリティ向上への期待
この技術は、ゲーム初心者や操作が難しいと感じるプレイヤー、身体的な制約を抱えるユーザーにとって、大きな助けになると考えられます。高難度のボス戦や複雑な謎解きを、試行錯誤に多くの時間を割かずに楽しめる点は、歓迎される側面と言えるでしょう。
プライバシーと達成感への懸念も
一方で、否定的な意見も少なくありません。プレイヤーの行動や視線などを詳細に追跡する仕組みは、プライバシーへの不安を招く可能性があります。また、AIによる過度な介入が、試行錯誤の末にクリアする達成感を損なうのではないかという指摘もあります。
ソニーは先月、年齢制限やペアレンタルコントロールに応じて暴力表現や表現内容を自動調整する特許も出願しており、こうした動きがゲームの表現や作り手の意図を侵害するのではないかとの議論も起きています。
もっとも、特許はあくまで技術的な構想を示すものであり、実際に製品や機能として実装されるとは限りません。AIゴーストが革新的な支援機能として歓迎されるのか、それとも過剰な介入として受け止められるのか。ソニーの特許戦略が、今後のゲーム体験にどのような影響を与えるのか注目されます。

