
Appleが、衛星通信機能を強化するための専用ケースを検討している可能性が浮上しました。2024年に出願された特許がこのほど公開され、その内容が注目を集めています。
アンテナを内蔵した可動式ケース
今回明らかになった特許は「Electronic Device and Case with Satellite Communication Capabilities」と題されたもので、iPhoneやiPad向けのケースに衛星通信機能を補助するアンテナを内蔵するというものです。

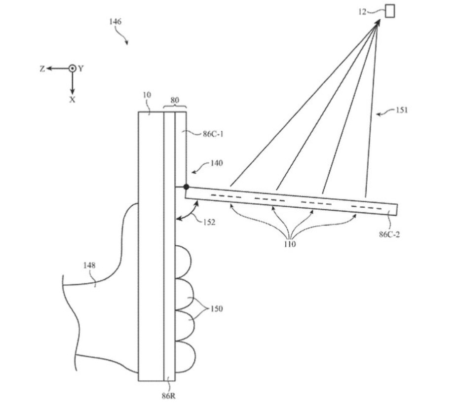
図面によると、ケースの一部がフリップ式で開閉できる構造になっており、内部にフェーズドアレイアンテナを搭載。使用時にはその部分を空に向けることで、より良好な衛星信号を受信できる設計が想定されています。
アンテナ部分が独立していることで、手で端末を持った際に電波を遮ってしまうリスクも抑えられるとしています。
複数衛星との接続も想定
特許の説明では、ケース側に搭載されたアンテナアレイによって、複数の衛星と接続できる可能性にも言及されています。
また、このケースはユーザーが着脱可能な通常の保護ケースとして機能する設計で、無線データのやり取りについては無線周波数コネクタ経由の通信や、NFCなど複数の方式が検討されているようです。
現在、iPhoneは一部モデルで衛星通信を活用した緊急SOS機能に対応していますが、専用ケースで通信性能を底上げできれば、山間部や通信環境の厳しい地域での利便性向上につながる可能性があります。
実際に製品化されるかは不透明
もっとも、特許出願はあくまで技術的なアイデアや概念を保護するためのものであり、必ずしも製品化を意味するものではありません。大手テック企業は数多くの特許を出願していますが、その多くは実際の製品として市場に投入されることなく終わるケースも少なくありません。
今回のケースも、現時点では試験的なコンセプト段階にとどまっている可能性があります。ただ、衛星通信機能がスマートフォンの重要な差別化要素になりつつある中で、周辺アクセサリーによる拡張というアプローチは興味深い試みといえます。
今後、Appleがどのような形で衛星通信機能を進化させていくのか、引き続き注目されます。


